เงื่อนไขการตัดที่แนะนำสำหรับดอกกัดแบบพิเศษ
กระบวนการตัดแต่งด้วยมีดเซาะร่องโอริง
● เลือกใช้น้ำมันที่เหมาะสมกับวัสดุในที่ใช้ในการตัดกลึง
● ใช้ F-RGC ที่อัตราฟีด 50% ของเกณฑ์ที่ระบุไว้ด้านล่าง
รหัสรุ่น
H-RGC /F-RGC

กระบวนการตัดแต่งด้วยมีดตัดพินพ้อยต์เกต

รหัสรุ่น
PGSRC /PM-PGSRC

รหัสรุ่น
PGC /PM-PGC

รหัสรุ่น
PGTC /PM-PGTC

กระบวนการตัดแต่งเกตด้วยดอกสว่านใต้แม่พิมพ์

รหัสรุ่น
SMGC / PM-SMGC / SMBGC / PM-SMBGC / SMEGC /PM-SMEGC

งานตัดทรงเรียวย้อนกลับด้านด้วยตัวล็อคแกนหัวฉีด

● ตารางต่อไปนี้แสดงเงื่อนไขงานตัดผิวเอียงด้านข้าง
● หากใช้ C-BTEMH ให้ลดอัตราฟีดลงครึ่งหนึ่งของค่าในตารางด้านล่าง
รหัสรุ่น
BTEMH /C-BTEMH

งานเซาะร่องด้วยดอกเจาะคาร์ไบด์

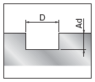
● ตารางนี้ใช้ค่า Ad (ความลึก) 0.5 ถึง 1.0 D
● ใช้เครื่องจักรและหัวจับที่มีความแข็งเกร็งและความแม่นยำสูง
● เลือกใช้น้ำมันที่เหมาะสมกับวัสดุในที่ใช้ในการตัดกลึง
● หากเครื่องจักรไม่เพิ่มอัตราเร็วในการหมุน โปรดลดอัตราการฟีดและความเร็วในการหมุนในอัตราส่วนเดียวกัน
● สำหรับขนาดปลายร่องของใบมีด D ให้เลือกใช้ด้านที่มีค่าตัวเลขมากกว่า
รหัสรุ่น
SVKEM /SVKWC

งานเซาะร่องด้วยดอกกัดเอ็นมิลเหล็กกล้าความเร็วสูงชนิดตรง

● ตารางนี้ใช้ค่าอ้างอิงที่ Ad (ความลึก) 0.5 D
● ใช้เครื่องจักรและหัวจับที่มีความแข็งเกร็งและความแม่นยำสูง
● เลือกใช้น้ำมันที่เหมาะสมกับวัสดุในที่ใช้ในการตัดกลึง
● เงื่อนไขการตัดอาจเปลี่ยนแปลงไปหากส่วนปลายของใบมีดมีการตัดแต่งรูปทรง ดังนั้นจึงควรปรับเงื่อนไขการตัดให้เหมาะสมโดยอ้างอิงจากตารางด้านล่าง
รหัสรุ่น
SEMH

งานตัดผิวด้านข้างด้วยดอกกัดเอ็นมิลใบมีดตรงเหล็กกล้าไฮสปีด

● ตารางนี้อ้างอิงความกว้างที่ 0.1 D และ Ad (ความลึก) ที่ 1.5 D
● ใช้เครื่องจักรและหัวจับที่มีความแข็งเกร็งและความแม่นยำสูง
● เลือกใช้น้ำมันที่เหมาะสมกับวัสดุในที่ใช้ในการตัดกลึง
● เงื่อนไขการตัดอาจเปลี่ยนแปลงไปหากส่วนปลายของใบมีดมีการตัดแต่งรูปทรง ดังนั้นจึงควรปรับเงื่อนไขการตัดให้เหมาะสมโดยอ้างอิงจากตารางด้านล่าง
รหัสรุ่น
SEMH

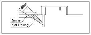
งานเซาะร่องรันเนอร์ด้วยดอกกัดเอ็นมิลสี่เหลี่ยมคางหมู

● ตารางนี้อ้างอิงตามเงื่อนไขการตัดแต่งขึ้นรูปด้วยเครื่องจักรในรูปด้านบน
● ใช้เครื่องจักรและหัวจับที่มีความแข็งเกร็งและความแม่นยำสูง
● เลือกใช้น้ำมันที่เหมาะสมกับวัสดุในที่ใช้ในการตัดกลึง
● หากเครื่องจักรไม่เพิ่มอัตราเร็วในการหมุน โปรดลดอัตราการฟีดและความเร็วในการหมุนในอัตราส่วนเดียวกัน
● ผิวเคลือบ TS และ XAL ช่วยให้ความเร็วในการฟีดและความเร็วในการหมุนเพิ่มขึ้นได้สูงสุดถึง x 150% ภายใต้เงื่อนไขต่อไปนี้
รหัสรุ่น
F-RTREM /RTREM










