ขายึดเยื้องศูนย์ - ซีรีส์ 8, ร่อง 10 มม., 1 ร่อง

ข้อควรระวัง
รายละเอียดสินค้า
ตำแหน่ง รูจะเยื้องศูนย์และสามารถใช้ได้ทั้งแผ่นหนา 3 มม. และ 5 มม.
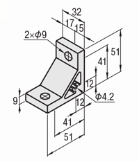
Drawing ระบุขนาดของเหล็กฉาก 90 องศา

ตารางข้อมูลจำเพาะของเหล็กฉาก 90 องศา
| รุ่นของเหล็กฉาก 90 องศา |
| HBLTH8 |
・หากต้องการตรวจสอบราคาล่าสุด กรุณาคลิกปุ่ม “ตรวจสอบราคา” หลังจากยืนยันหมายเลขรุ่น
| รุ่นของเหล็กฉาก 90 องศา | น้ำหนัก (กรัม) | สลักเกลียวและนัท T ที่ใช้ร่วมกันได้ | แรงที่รับได้ (N) | |||
| สลักเกลียว | จำนวน | T-Nut | จำนวน | |||
| HBLTH8 | 68 | CBM8-20 | 2 | HNTT8-8 | 2 | 2058 |
การประมวลผลพิ่มเติมของเหล็กฉาก 90 องศา
| รุ่นของเหล็กฉาก 90 องศา | − | (C・SET・SST・SEU・SSU・SEP・SSP・SEC) |
| HBLTH8 HBLTH8 | − − | SET C−SET |
| การประมวลผลพิ่มเติม | รหัส | รายละเอียด | เหล็กฉาก 90 องศาที่ใช้ร่วมกันได้ |
| เจาะรูติดตั้งแผ่นครอบเพิ่มเติม | C | เหล็กฉาก 90 องศาถูกต๊าปเกลียวสำหรับติดตั้งแผ่นครอบ (M5 ทั้งสองด้าน) (ใช้สกรู HCBM) ![]() | HBKTS8 |
| NBLTS8 | |||
| HBLTS8 | |||
| CHBLTS8 | |||
| HBLTH8 |
| การประมวลผลพิ่มเติม | รหัส | รายละเอียด | เหล็กฉาก 90 องศาที่ใช้ร่วมกันได้ | |||||||||||||||||||||||||||||||||
| รวมสกรูและน็อตที่ใช้ร่วมกันได้ | SET SST (สแตนเลส) SEU (น็อตสปริงติดตั้งล่วงหน้า) SSU (น็อตสปริงติดตั้งล่วงหน้าแบบสแตนเลส) SEP (น็อตสปริงติดตั้งภายหลัง) SSP (น็อตสปริงติดตั้งภายหลังแบบสแตนเลส) SEC (สกรูและน็อตพร้อมแหวนรอง) | สกรูและน็อตที่ใช้ยึดข้อต่อเข้ากับเฟรมจะรวมอยู่ในชุด (รวมในราคาข้อต่อ) (ตัวอย่าง) เมื่อระบุ HBLTH8:
| - | |||||||||||||||||||||||||||||||||
| HBKTST8 | ||||||||||||||||||||||||||||||||||||
| HBKTS8 | ||||||||||||||||||||||||||||||||||||
| HBKTSB8 | ||||||||||||||||||||||||||||||||||||
| NBLTS8 | ||||||||||||||||||||||||||||||||||||
| HBLTS8 | ||||||||||||||||||||||||||||||||||||
| HBLTSB8 | ||||||||||||||||||||||||||||||||||||
| CHBLTS8 | ||||||||||||||||||||||||||||||||||||
| HBLTH8 | ||||||||||||||||||||||||||||||||||||
รายละเอียดการปรับแต่งเพิ่มเติมของเหล็กฉาก 90 องศา
■ การเจาะรูสำหรับติดตั้งฝาครอบ (-C)
สามารถเพิ่มรูเกลียว M5 ได้ทั้งสองด้าน
ตัวอย่างรุ่นที่มีการปรับแต่ง: HBLTH8-C
■ รายละเอียดของชุดสลักเกลียวและน็อตที่สามารถใช้ได้
| รุ่นที่มีการปรับแต่งเพิ่มเติม | สลักเกลียว | น็อต | ||||
|---|---|---|---|---|---|---|
| รุ่น | วัสดุ | ประเภท | รุ่น | วัสดุ | สต็อปเปอร์ | |
| SET | CBM8-20 | เหล็ก | ประกอบจากด้านหน้า | HNTT8-8 | เหล็ก | ไม่มี |
| SST | SCB8-20 | สแตนเลส | ประกอบจากด้านหน้า | HNTTSN8-8 | สแตนเลส | ไม่มี |
| SEU | CBM8-20 | เหล็ก | ประกอบจากด้านหน้า | HNTU8-8 | เหล็ก | มี |
| SSU | SCB8-20 | สแตนเลส | ประกอบจากด้านหน้า | SHNTU8-8 | สแตนเลส | มี |
| SEP | CBM8-20 | เหล็ก | ประกอบภายหลัง | HNTP8-8 | เหล็ก | มี |
| SSP | SCB8-20 | สแตนเลส | ประกอบภายหลัง | SHNTP8-8 | สแตนเลส | มี |
| SEC | HCBST8-24 | เหล็ก (พร้อมแหวนรอง) | ประกอบจากด้านหน้า | HNTT8-8 | เหล็ก | ไม่มี |
วิธีการใช้งานเหล็กฉาก 90 องศา
ตำแหน่งรูยึดถูกออกแบบให้เยื้องจากจุดศูนย์กลาง สามารถใช้งานได้กับแผ่นปิดที่มีความหนา 3 มม. และ 5 มม.

เมื่อทำการติดตั้งแผ่นปิดเข้ากับเหล็กฉาก 90 องศา แนะนำให้เพิ่มรูสำหรับติดตั้งฝาครอบ (-C)
สกรูสำหรับยึดแผ่นปิด:HCBM
ผลิตภัณฑ์ที่คล้ายกันของเหล็กฉาก 90 องศา
■ซีรีส์ 8 (ความกว้างร่อง 10 มม.) – สำหรับร่องเดี่ยว – เหล็กฉาก 90 องศาชนิดรีดขึ้นรูป
| ชื่อสินค้า | ขายึดแบบเยื้องศูนย์ | เหล็กฉาก 90 องศาแบบหนา | ขายึดแบบหนาพิเศษ | ขายึดแบบหนา/ ขายึดรูปสามเหลี่ยม | ขายึดด้านไม่เท่ากัน | ขายึดเชื่อมต่อเฟรม ขนาดต่างกัน | เหล็กฉาก 90 องศาแบบบาง |
|---|---|---|---|---|---|---|---|
| รูปสินค้า |
|
|
|
|
|
|
|
| คุณลักษณะ | ตำแหน่งรูเยื้องจากศูนย์ เมื่อยึดแผ่นด้านข้างสามารถติดตั้งแผ่นที่มีความหนา 3 มม./5 มม. ให้เสมอกับผิวเฟรมได้ | ชนิดนี้ผลิตจากวัสดุเดียวกับเฟรมอลูมิเนียมและผ่านการอะโนไดซ์ เหมาะสำหรับกรณีที่ต้องการให้รูปลักษณ์กลมกลืนกับเฟรม | เหล็กฉาก 90 องศาแบบหนาและโบลต์มีจำนวนเท่ากัน ทำให้สามารถยึดได้แข็งแรงยิ่งขึ้น | ชนิดนี้มีรูยึดสองรูด้านเดียว ใช้โบลต์ 4 ตัว ทำให้ยึดเฟรมได้มั่นคงมากขึ้น | ความยาวและความกว้างไม่เท่ากัน สามารถติดตั้งในพื้นที่แคบได้ | รูยึดอยู่ในตำแหน่งเหลื่อมกัน สามารถเชื่อมต่อเฟรมขนาด 40 มม. และ 30 มม. ได้ | เหล็กฉาก 90 องศานี้ไม่ยื่นออกจากเฟรมเมื่อติดตั้งแบบไขว้ ทำให้ใช้งานในพื้นที่จำกัดได้ |
| น้ำหนักที่รับได้ | 2058 | 2058 | 2058 | 3087 | 2572 | - | 1666 |
| รุ่นที่แนะนำ | ผลิตภัณฑ์นี้ | NBLTS8 | HBLUS8 | HBLTSW8 (ชนิดหนา) | HBLTF8 | HBLTS8-6L | HBLSS8 |
| HBKTST8 (แบบตัดฉาก) | HBKUS8 (แบบตัดฉาก) | HBLDSWT8 (แบบสามเหลี่ยม) |
■ ความแตกต่างระหว่างเหล็กฉาก 90 องศาแบบอัดขึ้นรูปและแบบมีปุ่มยื่น
| [ผลิตภัณฑ์นี้] เหล็กฉาก 90 องศาแบบอัดขึ้นรูป
| · วัสดุของเหล็กฉาก 90 องศาแบบอัดขึ้นรูปคือ A6N01SS-T5 และผลิตโดยการอัดขึ้นรูปอลูมิเนียม พื้นผิวผ่านการอะโนไดซ์ · เหมาะสำหรับกรณีที่ต้องการให้รูปลักษณ์กลมกลืนกับเฟรม และมีโครงสร้างช่วยป้องกันฝุ่นสะสม · แข็งแรงกว่าขายึดแบบมีปุ่มยื่น เหมาะสำหรับพื้นที่ที่ต้องการความแข็งแรง |
| เหล็กฉาก 90 องศาแบบมีปุ่มยื่น | ・ขายึดแบบมีปุ่มยื่นผลิตจากวัสดุ ADC12 โดยใช้แม่พิมพ์ โดยทั่วไปไม่ได้ผ่านการอะโนไดซ์ และมีราคาถูกกว่าเหล็กฉาก 90 องศาแบบอัดขึ้นรูปขนาดเดียวกัน ・ปุ่มยื่นช่วยทำหน้าที่เป็นตัวหยุดการหมุนในขณะขันสกรู ทำให้ใช้งานได้สะดวก ・มีเหล็กฉาก 90 องศาหลายชนิดที่มีฟังก์ชันเพิ่มเติม |
ข้อมูลทางเทคนิคของเหล็กฉาก 90 องศา
■ ความตั้งฉาก
■ แนวคิดของน้ำหนักที่เหล็กฉาก 90 องศารับได้

ค่าภาระที่รับได้ในที่นี้ หมายถึงค่าภาระที่ขายึดยังคงสามารถรักษาตำแหน่งไว้ได้ (โดยไม่แตกหักหรือเลื่อนหลุด) เมื่อยึดสกรูเข้ากับรูติดตั้งทุกจุดและมีแรงกระทำเข้ามา
รายการสินค้าที่เกี่ยวข้องกับเหล็กฉาก 90 องศา
■ เหล็กฉาก 90 องศา ซีรีส์ 8
| ชื่อสินค้า | เฟรมอลูมิเนียม | เหล็กฉาก 90 องศา | ฝาปิดเฟรม | ฝาครอบร่อง | น็อต |
|---|---|---|---|---|---|
| ภาพสินค้า |
|
|
|
|
|
| หน้าสินค้า | ที่นี่ | ที่นี่ | ที่นี่ | ที่นี่ | ที่นี่ |














