Stainless Steel Stays With Stopper for Heavy Doors B-1450

Caution
Product Description
A stay that uses a safety stopper mechanism to firmly secure the door.
[Features]
· Left/right combination type (use with configuration change).
· Has an unlocking wire that allows use in high locations.
· Materials: Stainless steel plate (SUS304).
· Surface finish: Tumble finishing.
[Applications]
· Various types of doors in cubicles, communication shelters construction, ships, etc.
Fixed Angle Of The Door Can Be Changed By Changing The Hinge Position

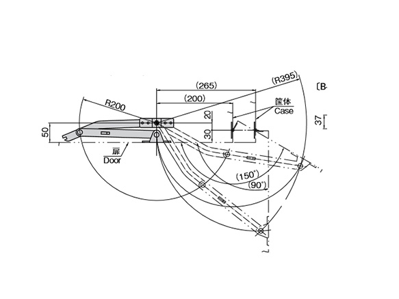
B-1450-W-0-R external appearance

B-1450-W-0, B-1450-W-1, B-1450-0, B-1450-1 dimensional drawing
| Product No. | Materials | Remarks | L1 | (L2) | (T1) | (T2) | t | Allowable Load kN | Product Mass (g) | |
|---|---|---|---|---|---|---|---|---|---|---|
| B-1450-W-0-L | SUS | With wire | Left-type | 200 | 395 | 7 | 50 | 3 | 1.47 | 627 |
| B-1450-W-0-R | SUS | Right-type | 627 | |||||||
| B-1450-0 | SUS | Without wire | Left/right combination type | 600 | ||||||
| B-1450-W-1-L | SUS | With wire | Left-type | 145 | 343 | 60 | 38 | 3 | 1.47 | 575 |
| B-1450-W-1-R | SUS | Right-type | 575 | |||||||
| B-1450-1 | SUS | Without wire | Left/right combination type | 550 | ||||||
| B-450-W-1-L | SPCC | With wire | Left-type | 145 | 343 | 60 | 38 | 3.2 | 1.47 | 589 |
| B-450-W-1-R | SPCC | Right-type | 589 | |||||||
Reference Operation Example

B-1450-0 reference operation example

B-1450-1 reference operation example
- *The opening angle changes according to changes in the hinge position (pivot point).