Post-Assembly Stopper - For 6 Series (Slot Width 8 mm) Aluminum Frame

Brand :
MISUMI
Caution
Product Description
Stopper for post-assembly insertion stopper nut. Even if the frame is set vertically, the post-assembly insertion stopper nut will not fall off.
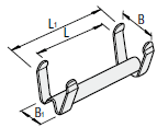
Dimensional Drawing of Nuts
HNAST6
HNBST6

| Type | [M]Nuts Material |
| ①HNAST6 | polypropylene |
| ②HNBST6 | SUS301 |
Specification Table of Nuts
| Nuts Model |
| HNAST6 |
・The price list below is currentas of April 2011.
・To check the latest price, please click the "Check Price" button after confirming the model number.
・To check the latest price, please click the "Check Price" button after confirming the model number.
| Model | Corresponding post-insertion stopper Nuts | color | L | B | L1 | B1 |
| HNAST6 | HNTA6 HNTAV6 HNTASN6 HNTASS6 | white | 17 | 10.3 | twenty four | 7.8 |
| HNBST6 | − | 18 | 10.5 | twenty three | 6 |
How to Use of Nuts
- Even if the frame is placed vertically,the post-insertion stopper Nutswill not fall off.
- Insert the stopper into the frame and then insert the Nuts from above.

* We also offera set of post-insertion Nuts and stoppers .
6 Series Related Parts of Nuts
| Product name | Aluminum frame | bracket | Blind Joint | Frame cap | Groove cover |
|---|---|---|---|---|---|
| photograph | ![]() | ![]() | ![]() | ![]() | ![]() |
| Product page | Here | Here | Here | Here | Here |




